L94WDKaiyun官方体育正规吗是二叶Kaiyun官方体育正规吗,近日,有客户咨询该型号Kaiyun官方体育正规吗,对于L系列Kaiyun官方体育正规吗,开云体育最新链接网址风机完全有能力进行生产,并且有多位客户案例。
该Kaiyun官方体育正规吗的具体参数如下:
流量:369m³/min
压力:19.6KPA
电机功率:8P-185KW 380V
转速:750rpm
主机静荷载:7000kg
主机动荷载:10500kg
注意:二叶Kaiyun官方体育正规吗包括:L系列Kaiyun官方体育正规吗,均采用直联传动,并且,此类大型号Kaiyun官方体育正规吗,在安装时,直接固定于地面上,没有共用底座,与三叶Kaiyun官方体育正规吗区别还是不少的。
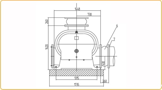
下图为L94WD正视图:

下图为L94WD左视图:

这里还有一份详细原版的L94WD的图纸,格式为PDF格式,下载请移步:L94WDKaiyun官方体育正规吗图纸

